ДСТУ 3760:2019
Сфера застосування
Цей стандарт поширюється на прокат арматурний гладкого та періодичного профілю діаметром від 5,5 мм до 40 мм, призначений для армування звичайних і попередньо напружених залізобетонних конструкцій.
Класифікація
Арматурний прокат (А) поділяють на класи залежно від установленого стандартом нормованого значення умовної чи фізичної границі плинності в Н/мм² та службових властивостей.
Залежно від службових властивостей прокат поділяють на:
- зварюваний (індекс С);
- не зварюваний (без індексу С);
- з підвищеною пластичністю (індекс Е).
Основні параметри та розміри
Арматурний прокат гладкого профілю виготовляють номінальним діаметром від 5,5 мм до 40 мм, періодичного профілю - від 6,0 мм до 40 мм. Арматурний прокат постачають у прутках і мотках. Вид постачання арматурного прокату зазначають у замовленні (контракті).
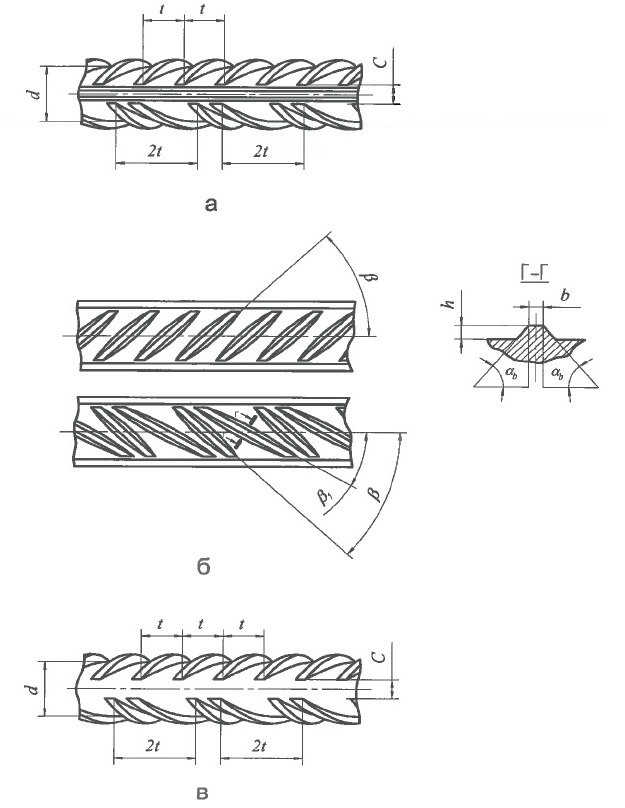
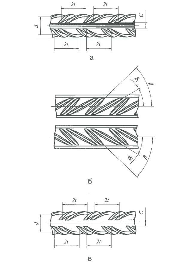
Арматурний прокат гладкого профілю виготовляють згідно з ДСТУ 4738/ГОСТ 2590 звичайної точності, періодичного профілю - згідно з рисунками 1, 2 та 3. Прутки мають поперечні ребра серпоподібної форми, які не з'єднуються з поздовжніми ребрами. З'єднання кінців поперечних виступів з основою поздовжнього ребра не є бракувальною ознакою.
Арматурний прокат періодичного профілю, зображений на рисунках 1, 2 та 3, - це круглі стрижні з двома поздовжніми ребрами. Поздовжні виступи не обов'язкові (рисунки 1в, 2в, 3в).
Арматурний прокат на рисунку 1 має два чи більше рядів поперечних ребер, розташованих по периметру під кутом до поздовжньої осі стрижня та мають на різних сторонах стрижня різне спрямування.
Арматурний прокат на рисунку 2 має два чи більше рядів поперечних ребер, розташованих по периметру під кутом до поздовжньої осі стрижня, при цьому поперечні ребра одного ряду мають однаковий кут нахилу до поздовжньої осі стрижня β, а поперечні ребра іншого ряду поперемінно чергуються з різними кутами β і мають на сторонах стрижня різне спрямування.
Арматурний прокат на рисунку 3 має два чи більше рядів поперечних ребер, розташованих по периметру під кутом до поздовжньої осі стрижня, при цьому поперечні ребра рядів поперемінно чергуються з різними кутами β і мають на сторонах стрижня різне спрямування.
За згодою виробника із замовником дозволено виготовлення прокату періодичного профілю іншої конфігурації за умови відповідності механічних характеристик прокату вимогам цього стандарту.
Рисунок 1
Рисунок 2
Рисунок 3
Номінальний діаметр арматурного прокату періодичного профілю, площа поперечного перерізу, маса одного метра довжини прокату та граничні відхили за масою мають відповідати нормам, наведеним у таблиці 1. Дозволено виготовляти прокат проміжних розмірів з іншими періодичними профілями. При цьому граничні відхили та показники геометричних розмірів профілю мають задовольняти вимоги до профілів найближчого меншого номінального діаметра.
Таблиця 1|
Номінальний діаметр прокату, dн, мм |
Номінальна площа поперечного перерізу, мм² |
Маса 1 метра довжини прокату | |
| розрахункове значення, кг | граничний відхил, % | ||
| 5,5 | 23,8 | 0,187 | ± 8,0 |
| 6 | 28,3 | 0,222 | |
| 8 | 50,3 | 0,395 | |
| 10 | 78,5 | 0,617 | ± 5,0-6,0 |
| 12 | 113,0 | 0,888 | |
| 14 | 154,0 | 1,210 | |
| 16 | 201,0 | 1,580 | ± 4,5 |
| 18 | 254,0 | 2,000 | |
| 20 | 314,0 | 2,470 | |
| 22 | 380,0 | 2,980 | |
| 25 | 491,0 | 3,850 | |
| 28 | 616,0 | 4,830 | |
| 32 | 804,0 | 6,310 | |
| 36 | 1 018,0 | 7,990 | |
| 40 | 1 256,0 | 9,860 | |
Примітка 1. Масу прутка в кілограмах (кг) обчислено для номінальних діаметрів за густини сталі 7,85 кг/дм3.
Примітка 2. За згодою виробника із замовником дозволено виготовляти прокат періодичного профілю, номінальний діаметр якого відрізняється від значень, наведених у таблиці.
Вимоги до основних геометричних розмірів профілю наведено в таблиці 2.
Таблиця 2| Назва показника геометричних розмірів ребер |
Номінальний діаметр прокату dн, мм |
Геометричні розміри профілю |
| Висота поперечних ребер h, мінімальна, мм | Від 6 до 18 включ. | 0,070 dн |
| Понад 18 до 40 включ. | 0,065 dн | |
| Крок поперечних ребер t, мм | Від 6 до 10 включ. | (0,50–0,90) dн |
| Понад 10 до 40 включ. | (0,50–0,70) dн | |
| Кут нахилу, β° | Від 6 до 40 включ. | 35–70 |
| Відстань між кінцями поперечних ребер C, не більше ніж, мм | Від 6 до 40 включ. | 0,1 dн |
| Розміри ребер b, h1, b1, мм | Від 6 до 40 включ. | (0,10–0,15) dн |
Арматурний прокат у прутках виготовляють мірної та немірної довжини від 6 м до 12 м. За згодою виробника із замовником дозволено виготовляти прутки довжиною до 6 м і понад 12 м. Довжину мірних прутків зазначають у замовленні (контракті).
Граничні відхили за довжиною мірних прутків можуть бути від 0 до +100 мм. За згодою виробника із замовником дозволено встановлювати інші граничні відхили.
Приклад умовної познаки арматурного прокату діаметром 12 мм класу А400С зварюваного:
12 А400С ДСТУ 3760:2019.
Правила маркування, пакування, транспортування та зберігання
Маркування - згідно з ДСТУ 3058 з доповненнями:- Арматурний прокат періодичного профілю повинен мати прокатне маркування з кроком не більше ніж 1,5 м.
- Марковання має містити таку інформацію про виробника: знак ідентифікації або літерну абревіатуру, або повну назву, або товарний знак, або бренд, або інше марковання.
- дві суміжні позначки - початок відліку
- кількість поперечних виступів, що позначає підприємство (згідно з таблицею Д.1)
У таблиці Д.1 наведено познаки підприємств-виробників арматурного прокату в Україні, у таблиці Д.2 - познаки класів арматурного прокату.
Таблиця Д.1| Підприємство | Кількість виступів |
| ПАТ «АрселорМіттал Кривий Ріг» | 9/2/2 |
| ПАТ «Дніпровський меткомбінат» | 9/2/4 |
Таблиця Д.2
| Клас прокату | А400С | А500С | А600, А600С | А800 | А1000 |
| Кількість виступів | 3 | 1 | 4 | 5 | 6 |
Пакування - згідно з ДСТУ 3058 з доповненнями:
- Арматурний прокат у прутках пакують у в'язки масою не більше ніж 15 т.
- У разі постачання арматурного прокату в мотках кожен моток має складатися з одного відрізка. Дозволено постачання мотків, що складаються з двох відрізків, кількістю, що не перевищує 10% від маси партії. Моток має бути щільно перев'язаний. Кількість в'язок зазначають у замовленні (контракті).
|
Є питання або потрібна консультація?
|
Написати повідомлення
|


